危險廢物電鍍污泥熱處置特性研究
1 引言( Introduction)
電(dian)鍍(du)(du)污(wu)泥(ni)是(shi)電(dian)鍍(du)(du)廢(fei)(fei)水處(chu)理過程中生成的(de)(de)產(chan)物(wu),是(shi)一類常(chang)見(jian)的(de)(de)典型危(wei)險廢(fei)(fei)棄(qi)物(wu),含有(you)大量的(de)(de)重(zhong)金(jin)屬,具有(you)易(yi)積累、易(yi)流失(shi)、不穩定等(deng)特點(dian). 在《國家危(wei)險廢(fei)(fei)物(wu)名錄》定義的(de)(de)47 類危(wei)險廢(fei)(fei)棄(qi)物(wu)中,電(dian)鍍(du)(du)污(wu)泥(ni)占據了(le)其(qi)中的(de)(de)7 大類. 電(dian)鍍(du)(du)污(wu)泥(ni)如不加以(yi)妥(tuo)善處(chu)理,任意堆放,將引起嚴重(zhong)的(de)(de)環境污(wu)染.
電鍍(du)污(wu)(wu)(wu)(wu)泥(ni)(ni)的(de)(de)(de)資(zi)源化(hua)是(shi)(shi)目前(qian)實(shi)現對(dui)其處(chu)(chu)(chu)(chu)置(zhi)的(de)(de)(de)主要(yao)方法(fa)(fa)(fa),雖(sui)然(ran)(ran)資(zi)源化(hua)是(shi)(shi)最理(li)(li)(li)(li)(li)想的(de)(de)(de)方法(fa)(fa)(fa),但(dan)從經濟(ji)角度來看,資(zi)源化(hua)處(chu)(chu)(chu)(chu)置(zhi)經濟(ji)收(shou)益率低、無(wu)法(fa)(fa)(fa)形成(cheng)規模效益、生產(chan)成(cheng)本高(gao)(gao),所以(yi)目前(qian)仍不能成(cheng)為(wei)(wei)(wei)主要(yao)的(de)(de)(de)處(chu)(chu)(chu)(chu)理(li)(li)(li)(li)(li)處(chu)(chu)(chu)(chu)置(zhi)方法(fa)(fa)(fa)(Suwimol et al . , 2004 ; 廖昌華等, 2002) . 近(jin)年來,隨著公眾環境保護和(he)資(zi)源回收(shou)意(yi)識的(de)(de)(de)提高(gao)(gao)、國(guo)際環保工(gong)(gong)業技(ji)術的(de)(de)(de)蓬勃發展(zhan),固體廢物(wu)處(chu)(chu)(chu)(chu)理(li)(li)(li)(li)(li)過(guo)程(cheng)逐(zhu)(zhu)漸向熱化(hua)學(xue)處(chu)(chu)(chu)(chu)理(li)(li)(li)(li)(li)技(ji)術轉(zhuan)化(hua)(Dempsey et al . , 1993 ; Kirket al . , 2000) . 利用焚(fen)燒(shao)、離子電弧以(yi)及微波等熱處(chu)(chu)(chu)(chu)理(li)(li)(li)(li)(li)法(fa)(fa)(fa)實(shi)現對(dui)電鍍(du)污(wu)(wu)(wu)(wu)泥(ni)(ni)的(de)(de)(de)預處(chu)(chu)(chu)(chu)理(li)(li)(li)(li)(li)或安(an)全處(chu)(chu)(chu)(chu)置(zhi)正逐(zhu)(zhu)漸引起人們的(de)(de)(de)重(zhong)(zhong)(zhong)視(Ramachanadran et al . , 2000 ; Gan ,2000) . 同其它熱處(chu)(chu)(chu)(chu)理(li)(li)(li)(li)(li)法(fa)(fa)(fa)相比,焚(fen)燒(shao)法(fa)(fa)(fa)是(shi)(shi)最經濟(ji)的(de)(de)(de)熱處(chu)(chu)(chu)(chu)理(li)(li)(li)(li)(li)法(fa)(fa)(fa), 有(you)研(yan)究(jiu)(jiu)工(gong)(gong)作者對(dui)電鍍(du)污(wu)(wu)(wu)(wu)泥(ni)(ni)在(zai)爐(lu)內(nei)焚(fen)燒(shao)的(de)(de)(de)熱特(te)性(xing)及其中(zhong)的(de)(de)(de)重(zhong)(zhong)(zhong)金(jin)屬(shu)Cr 的(de)(de)(de)遷移(yi)規律做了(le)研(yan)究(jiu)(jiu),認為(wei)(wei)(wei)90 %以(yi)上(shang)的(de)(de)(de)Cr 留(liu)在(zai)了(le)焚(fen)燒(shao)灰渣中(zhong)( Espinosa et al . ,2001 ; Wang et al . , 1999) ;清(qing)華大學(xue)張衍國(guo)等人也指(zhi)出(chu)焚(fen)燒(shao)是(shi)(shi)防止(zhi)污(wu)(wu)(wu)(wu)泥(ni)(ni)重(zhong)(zhong)(zhong)金(jin)屬(shu)污(wu)(wu)(wu)(wu)染的(de)(de)(de)優先處(chu)(chu)(chu)(chu)理(li)(li)(li)(li)(li)方法(fa)(fa)(fa)(張衍國(guo)等, 2000) . 雖(sui)然(ran)(ran)目前(qian)對(dui)電鍍(du)污(wu)(wu)(wu)(wu)泥(ni)(ni)類重(zhong)(zhong)(zhong)金(jin)屬(shu)含量較高(gao)(gao)的(de)(de)(de)危(wei)險(xian)廢物(wu)處(chu)(chu)(chu)(chu)置(zhi)已經有(you)了(le)一定的(de)(de)(de)研(yan)究(jiu)(jiu)成(cheng)果,但(dan)對(dui)于(yu)在(zai)高(gao)(gao)溫環境下電鍍(du)污(wu)(wu)(wu)(wu)泥(ni)(ni)的(de)(de)(de)熱重(zhong)(zhong)(zhong)過(guo)程(cheng)及焚(fen)燒(shao)產(chan)物(wu)中(zhong)重(zhong)(zhong)(zhong)金(jin)屬(shu)的(de)(de)(de)浸出(chu)毒性(xing)的(de)(de)(de)研(yan)究(jiu)(jiu)仍未見諸報(bao)道.本文(wen)是(shi)(shi)危(wei)險(xian)廢物(wu)回轉(zhuan)窯內(nei)焚(fen)燒(shao)機(ji)理(li)(li)(li)(li)(li)研(yan)究(jiu)(jiu)的(de)(de)(de)組成(cheng)部分,主要(yao)目的(de)(de)(de)為(wei)(wei)(wei)了(le)解電鍍(du)污(wu)(wu)(wu)(wu)泥(ni)(ni)在(zai)熱處(chu)(chu)(chu)(chu)置(zhi)過(guo)程(cheng)中(zhong)的(de)(de)(de)熱重(zhong)(zhong)(zhong)特(te)性(xing)和(he)重(zhong)(zhong)(zhong)金(jin)屬(shu)遷移(yi)及浸出(chu)特(te)性(xing). 這對(dui)實(shi)現高(gao)(gao)效低污(wu)(wu)(wu)(wu)染處(chu)(chu)(chu)(chu)理(li)(li)(li)(li)(li)此(ci)類危(wei)險(xian)廢棄物(wu),以(yi)及焚(fen)燒(shao)此(ci)類危(wei)險(xian)廢棄物(wu)的(de)(de)(de)焚(fen)燒(shao)爐(lu)的(de)(de)(de)工(gong)(gong)程(cheng)設計和(he)優化(hua)運行具有(you)重(zhong)(zhong)(zhong)要(yao)的(de)(de)(de)指(zhi)導意(yi)義.
2 試驗物料選取及試驗方法( Experimental materialand method)
2.1 電鍍污泥的工業分析與元素分析結果試驗所用物料來自杭州某工業廢物處理有限公司. 試驗前,首先對原始電鍍污泥進行工業分析與元素分析,分析結果分別見表1、表2 和表3. 由表1、表2 可知,原始電鍍污泥的水分、灰分都相當高,其中,原始電鍍污泥樣品中水分占總重的50 %以上. 由表3 可知,電鍍污泥內除含有Cr 、Zn、Cu、Pb、Ni 、Hg 等重金屬外,還有諸多Fe , Na , Mg , K, Ca 等元素. 其中的重金屬來自電鍍廢水,其它元素則是在處理電鍍廢水時,由加入的次氯酸鈉、硫化鈉、硫酸亞鐵或氫氧化鈣等化學藥劑產生的(Jakob et al . , 1995) ,可見電鍍污泥不光金屬元素含量高,且成分相當復雜.
![]() |
![]() |
原始(shi)的(de)電(dian)(dian)(dian)鍍(du)(du)污泥(ni)水(shui)分(fen)含量高,且粒度分(fen)布不(bu)均勻,為了(le)(le)消除(chu)這些(xie)不(bu)利因素對熱重試(shi)驗(yan)準確(que)性(xing)的(de)影響,試(shi)驗(yan)前對原始(shi)電(dian)(dian)(dian)鍍(du)(du)污泥(ni)進行了(le)(le)脫水(shui)與細化預(yu)處理. 首先將電(dian)(dian)(dian)鍍(du)(du)污泥(ni)放(fang)置于80 ℃的(de)烘(hong)箱內(nei)烘(hong)干約8h ,充分(fen)脫水(shui),再將其取出(chu)碾碎,經(jing)80 目篩子(孔徑01198 mm) 篩分(fen)后,繼續置于烘(hong)箱內(nei)脫水(shui),直到相(xiang)隔(ge)一段(duan)時間內(nei)2 次稱重誤差不(bu)超過3 % ,即認為已經(jing)脫除(chu)了(le)(le)電(dian)(dian)(dian)鍍(du)(du)污泥(ni)的(de)外在水(shui)分(fen).
2.2 試(shi)驗裝置(zhi)及試(shi)驗方法(fa)
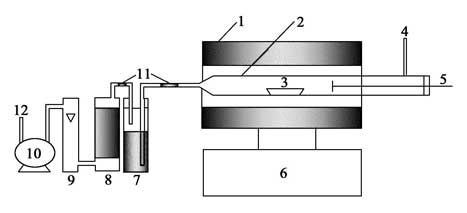
電(dian)鍍污(wu)泥(ni)焚(fen)(fen)(fen)燒(shao)(shao)試驗(yan)(yan)裝置采(cai)用SK22215213TS 型高(gao)溫(wen)(wen)定(ding)碳爐(lu)(lu)(lu),如圖1 所(suo)示,以硅碳管(guan)作為(wei)(wei)加熱(re)元件,透明石(shi)英管(guan)作為(wei)(wei)燃(ran)燒(shao)(shao)管(guan),焚(fen)(fen)(fen)燒(shao)(shao)溫(wen)(wen)度(du)由KSY 型智能溫(wen)(wen)控儀自動控溫(wen)(wen),爐(lu)(lu)(lu)溫(wen)(wen)可在(zai)0~1 300 ℃之間(jian)根據需(xu)要設定(ding),能較好滿足實驗(yan)(yan)所(suo)需(xu)的(de)燃(ran)燒(shao)(shao)溫(wen)(wen)度(du)變化(hua). 為(wei)(wei)模擬(ni)焚(fen)(fen)(fen)燒(shao)(shao)爐(lu)(lu)(lu)溫(wen)(wen)度(du)對(dui)原始(shi)電(dian)鍍污(wu)泥(ni)減容減重的(de)影響,稱(cheng)取(qu)未經任何預處理的(de)電(dian)鍍污(wu)泥(ni)2 g ,置于瓷舟(zhou)內,再將瓷舟(zhou)放(fang)在(zai)石(shi)英管(guan)中,緩慢地(di)推入(ru)定(ding)碳爐(lu)(lu)(lu)中心(xin). 實驗(yan)(yan)溫(wen)(wen)度(du)分別設定(ding)為(wei)(wei)500 ,600 ,700 ,800 和900 ℃,灼(zhuo)燒(shao)(shao)1 h后再取(qu)出稱(cheng)重. 實驗(yan)(yan)過(guo)程中不斷(duan)通入(ru)800 mL·min - 1的(de)瓶裝空氣(qi),模擬(ni)焚(fen)(fen)(fen)燒(shao)(shao)爐(lu)(lu)(lu)內的(de)氧化(hua)環境. 另(ling)外,為(wei)(wei)研究(jiu)焚(fen)(fen)(fen)燒(shao)(shao)時間(jian)對(dui)電(dian)鍍污(wu)泥(ni)的(de)影響, 在(zai)焚(fen)(fen)(fen)燒(shao)(shao)溫(wen)(wen)度(du)為(wei)(wei)900 ℃的(de)工況下,設定(ding)物料(liao)焚(fen)(fen)(fen)燒(shao)(shao)時間(jian)為(wei)(wei)30 ,60 ,120 min分別進行試驗(yan)(yan).
![]() 圖1 模擬焚燒爐環境的管式加熱爐 (11 管式爐 21 石英管 31 石英舟 41 進氣孔 51 物料推桿 61 溫控器 71 洗氣瓶 81 吸收瓶 91 流量計 101 抽氣泵 111 硅膠管 121 出氣口) |
熱(re)(re)重(zhong)分析(xi)試驗(yan)使用美國(guo)TA 公司(si)SDTQ600 綜(zong)合熱(re)(re)分析(xi)儀器(qi),分辨率為(wei)01001 mg , N2 氣氛(fen)下爐溫最高可達1 200 ℃,而在空(kong)氣氣氛(fen)下最高可達1 000 ℃.
試(shi)驗(yan)工況安排如下:物料質量15 mg ,試(shi)驗(yan)升溫速率為20 ℃·min - 1 ,氣(qi)體流量設定為120 mL·min - 1 ,試(shi)驗(yan)終溫在1 000 ℃以(yi)上(shang).
為了更好地了解(jie)電鍍(du)污(wu)泥(ni)的(de)熱特(te)性,分別以高純度(du)N2 和標準空(kong)氣2 種(zhong)氣體作為載氣進行試驗. 對焚(fen)(fen)燒后的(de)電鍍(du)污(wu)泥(ni)灰渣做(zuo)了進一步的(de)試驗研究,考察了焚(fen)(fen)燒溫(wen)度(du)和時間等因(yin)素(su)對重金(jin)屬(shu)(shu)(shu)浸(jin)出(chu)(chu)特(te)性的(de)影響,以及在(zai)不(bu)同(tong)工況下電鍍(du)污(wu)泥(ni)中的(de)重金(jin)屬(shu)(shu)(shu)析(xi)出(chu)(chu)特(te)性. 電鍍(du)污(wu)泥(ni)的(de)重金(jin)屬(shu)(shu)(shu)浸(jin)出(chu)(chu)方法采用(yong)了國家標準“固體廢物浸(jin)出(chu)(chu)毒性浸(jin)出(chu)(chu)方法———水平振蕩(dang)法”(GB50861221997) 所規定(ding)的(de)方法, 同(tong)時參(can)考了EPAMethod 1311 規定(ding)的(de)TCLP 毒性特(te)性浸(jin)出(chu)(chu)程序(Toxicity Characteristic Leaking Procedure) ; 對電鍍(du)污(wu)泥(ni)及焚(fen)(fen)燒后灰渣中各種(zhong)重金(jin)屬(shu)(shu)(shu)濃度(du)的(de)分析(xi)采用(yong)了EPA Method 3050 規定(ding)的(de)HNO32HF2HClO4 消解(jie)方法消解(jie). 浸(jin)出(chu)(chu)液(ye)和消解(jie)液(ye)中的(de)重金(jin)屬(shu)(shu)(shu)濃度(du)用(yong)火焰原子(zi)吸收儀(yi)FAAS( Flame Atomic Absorption Spectors) 進行測定(ding).
3 試驗結果( Experimental Results)
圖2 是利用管式爐模擬(ni)焚(fen)燒爐得到的(de)(de)(de)(de)原(yuan)始電(dian)(dian)(dian)鍍污(wu)(wu)泥在不同爐溫(wen)(wen)(wen)下的(de)(de)(de)(de)減重率(lv)(lv)曲線. 從圖中(zhong)(zhong)可以看出(chu),隨著焚(fen)燒溫(wen)(wen)(wen)度(du)從500 升高(gao)到700 ℃,電(dian)(dian)(dian)鍍污(wu)(wu)泥的(de)(de)(de)(de)減重率(lv)(lv)也相應地提高(gao),但溫(wen)(wen)(wen)度(du)超過700 ℃之后,雖(sui)然(ran)電(dian)(dian)(dian)鍍污(wu)(wu)泥繼續(xu)失重,但減重率(lv)(lv)的(de)(de)(de)(de)增加(jia)幅度(du)明顯變(bian)小了. 由(you)于在空(kong)氣氣氛下,電(dian)(dian)(dian)鍍污(wu)(wu)泥中(zhong)(zhong)部分(fen)成分(fen)與空(kong)氣中(zhong)(zhong)的(de)(de)(de)(de)O2 發生反應,形成氧(yang)化物而不再析出(chu),所以在相同溫(wen)(wen)(wen)度(du)和停留時間情況(kuang)下,N2 氣氛工(gong)況(kuang)比(bi)空(kong)氣氣氛工(gong)況(kuang)的(de)(de)(de)(de)減重率(lv)(lv)略有(you)增加(jia).
![]() 圖2 原始電鍍污泥在管式爐不同終溫下焚燒的減重率(空氣氣氛) |
![]() 圖3 原始電鍍污泥在管式爐相同終溫不同停留時間下焚燒的減重率(900 ℃,空氣氣氛) |
圖3 是在相同的溫度900 ℃下,不同焚燒時間的減重率曲線. 由圖可見,隨著電鍍污泥在管式爐內的焚燒時間超過60min 之后,減重率增加幅度有明顯的較大提高,通過分析知,這主要是由于電鍍污泥中一部分鹽在高溫時的分解造成的,同時結合后面關于重金屬析出的試驗結果,與在溫度較低時基本不析出的高沸點重金屬元素如Zn ,Pb 等逐漸析出到空氣中也有一定的關系.
![]() 圖4 空氣、N2 氣氛下電鍍污泥的TG曲線比較 |
圖4 是電鍍污泥在2 種氣氛下TG曲線的比較.可以看出電鍍污泥在空氣氣氛與N2 氣氛下的熱重試驗結果非常接近,只是氮氣氣氛下的TG曲線較空氣氣氛略向高溫方向遷移. 空氣氣氛下的主要失重階段為120~400 ℃,在溫度超過400 ℃之后失重減緩;而N2 氣氛下,整個過程的失重速率都較高,100~550 ℃為反應最劇烈階段,該溫度區間電鍍污泥失重率22 % ,反應轉化率高達62 % ,在溫度超過550 ℃后仍有明顯的失重階段.
![]() |
本文對(dui)不同(tong)氣氛情況(kuang)下不同(tong)工況(kuang)電鍍污(wu)泥(ni)在管式爐(lu)內的(de)(de)焚燒(shao)灰渣作(zuo)了(le)進一(yi)步探討(tao),研究了(le)溫度和焚燒(shao)時間對(dui)電鍍污(wu)泥(ni)中(zhong)(zhong)重(zhong)金屬的(de)(de)浸(jin)出(chu)特(te)性的(de)(de)影響(xiang).表4 是對(dui)5 種工況(kuang)下的(de)(de)焚燒(shao)灰渣的(de)(de)浸(jin)出(chu)液的(de)(de)測(ce)定結(jie)果,浸(jin)出(chu)液中(zhong)(zhong)Cd、Cu、Ni 、Pb 的(de)(de)濃(nong)度都明顯低于國家浸(jin)出(chu)毒性鑒別標準值.
在焚(fen)(fen)燒過程中(zhong),重金屬(shu)元素除了留在焚(fen)(fen)燒的渣(zha)中(zhong)外,其余(yu)的均隨煙氣散(san)發到(dao)大(da)氣中(zhong),用(yong)重金屬(shu)的析出(chu)率來表示散(san)發到(dao)大(da)氣中(zhong)重金屬(shu)元素,計算公式為:
R = 100 % ×(1 - Am/Cm) (1)
式中: R 為析出率; Am 為渣(zha)中的(de)重(zhong)金屬(shu)(shu)含量,mg·L - 1 ; Cm為電鍍污泥中的(de)重(zhong)金屬(shu)(shu)含量,mg·L - 1 .表5 是焚燒溫(wen)度對電鍍污泥中重(zhong)金屬(shu)(shu)析出特性(xing)的(de)影響(xiang)結果。
|
4 試驗結果討論(Discussion)
4.1 電鍍污泥的失重過(guo)程分析
原始電鍍污泥的減容減重試驗顯示,700 ℃以上的溫度已經能很好的除去電鍍污泥中的水分、有機質和揮發份,800 ℃工況下電鍍污泥中的成分并沒有發生較大的變化,因此減重率提高不明顯. 而到了900 ℃或更高的溫度能使得電鍍污泥內的部分化合物分解析出, 導致減重率少許增加, 這一現象與Espinosa 等人(2001) 的研究結果相似,其研究結果顯示在高溫下才有SO2 等氣體產生,這是硫酸鹽分解的結果. 事實上,灼燒過程中電鍍污泥內部發生的反應過程是非常復雜的,具體焚燒過程中某一時刻的產物還需要采用熱重- 紅外聯用的方法進行實時測定,以得到更為準確的分析結果.
![]() 圖5 電鍍污泥不同氣氛下熱重實驗結果 |
圖5 (a ,b) 分別(bie)是(shi)電(dian)鍍(du)污泥(ni)在(zai)空氣(qi)和N2 氣(qi)氛(fen)(fen)(fen)下的(de)熱(re)(re)重實驗結果. 在(zai)熱(re)(re)重試驗中, 空氣(qi)氣(qi)氛(fen)(fen)(fen)中的(de)120 ℃~400 ℃溫(wen)度(du)區間(jian)內(nei)DTG曲線(xian)(xian)存在(zai)兩個(ge)(ge)(ge)明(ming)顯的(de)失重峰(feng),且有一(yi)(yi)定的(de)重疊,而(er)N2 氣(qi)氛(fen)(fen)(fen)中的(de)相(xiang)(xiang)應(ying)溫(wen)度(du)區間(jian)內(nei)只出現1 個(ge)(ge)(ge),這一(yi)(yi)現象可從DTA 曲線(xian)(xian)得到(dao)解釋(shi). 空氣(qi)氣(qi)氛(fen)(fen)(fen)中該溫(wen)度(du)區域(yu)內(nei)有1 個(ge)(ge)(ge)吸(xi)熱(re)(re)峰(feng)和1 個(ge)(ge)(ge)放熱(re)(re)峰(feng),分別(bie)在(zai)140 ℃和361 ℃;與此相(xiang)(xiang)反(fan),N2 氣(qi)氛(fen)(fen)(fen)中該溫(wen)度(du)區域(yu)內(nei)只有1 個(ge)(ge)(ge)吸(xi)熱(re)(re)峰(feng),在(zai)154 ℃. 這是(shi)電(dian)鍍(du)污泥(ni)在(zai)空氣(qi)氣(qi)氛(fen)(fen)(fen)中發生了(le)氧(yang)化反(fan)應(ying),放出熱(re)(re)量(liang);而(er)由于在(zai)N2 氣(qi)氛(fen)(fen)(fen)中不(bu)存在(zai)放熱(re)(re)反(fan)應(ying),只有物料升(sheng)溫(wen)過程(cheng)的(de)吸(xi)熱(re)(re),所以整個(ge)(ge)(ge)過程(cheng)表(biao)現為吸(xi)熱(re)(re)反(fan)應(ying).
溫(wen)度(du)(du)(du)低于(yu)(yu)(yu)400 ℃時(shi),2 種氣(qi)氛(fen)(fen)中(zhong)電鍍(du)污(wu)泥(ni)失重曲(qu)線(xian)較接近,但空(kong)氣(qi)氣(qi)氛(fen)(fen)中(zhong)的(de)(de)TG曲(qu)線(xian)向低溫(wen)方(fang)向偏(pian)移,DTG峰(feng)值出現(xian)在(zai)136 ℃附近;而(er)(er)N2 氣(qi)氛(fen)(fen)中(zhong)的(de)(de)相應的(de)(de)DTG峰(feng)值出現(xian)在(zai)150 ℃,也即(ji)在(zai)溫(wen)度(du)(du)(du)低于(yu)(yu)(yu)400 ℃時(shi)空(kong)氣(qi)氣(qi)氛(fen)(fen)中(zhong)電鍍(du)污(wu)泥(ni)的(de)(de)反(fan)應更集中(zhong),更劇烈. 而(er)(er)N2 氣(qi)氛(fen)(fen)中(zhong),電鍍(du)污(wu)泥(ni)的(de)(de)總反(fan)應程度(du)(du)(du)要稍高于(yu)(yu)(yu)空(kong)氣(qi)氣(qi)氛(fen)(fen)中(zhong)的(de)(de)總反(fan)應程度(du)(du)(du),這從DTA 曲(qu)線(xian)中(zhong)也可以得(de)到(dao)解釋. 約450 ℃以后,空(kong)氣(qi)氣(qi)氛(fen)(fen)中(zhong)的(de)(de)DTA 曲(qu)線(xian)為一直線(xian),這說(shuo)明(ming)此(ci)時(shi)的(de)(de)反(fan)應產物(wu)(wu)基(ji)本穩(wen)定(ding),而(er)(er)N2 氣(qi)氛(fen)(fen)中(zhong)DTA 曲(qu)線(xian)到(dao)700 ℃階段才基(ji)本穩(wen)定(ding),這說(shuo)明(ming)惰性氣(qi)氛(fen)(fen)有(you)利(li)于(yu)(yu)(yu)電鍍(du)污(wu)泥(ni)中(zhong)部分物(wu)(wu)質(zhi)的(de)(de)分解反(fan)應,即(ji)使(shi)如此(ci),電鍍(du)污(wu)泥(ni)在(zai)2 種氣(qi)氛(fen)(fen)下(xia)的(de)(de)失重率差(cha)別(bie)很小,幾(ji)乎可以忽略.
4.2 焚燒對重(zhong)金屬浸出(chu)特性的影響
由(you)表4 可知,從整體來說(shuo),隨(sui)著溫(wen)度的(de)(de)(de)增(zeng)高,灰渣浸出(chu)液(ye)中(zhong)重金(jin)屬(shu)的(de)(de)(de)浸出(chu)濃(nong)度呈降低趨勢(shi),焚(fen)燒(shao)對(dui)電鍍污泥內其它重金(jin)屬(shu)的(de)(de)(de)浸出(chu)濃(nong)度都能得到有效的(de)(de)(de)控制(zhi),起到了環保的(de)(de)(de)目的(de)(de)(de). 但(dan)(dan)是其中(zhong)變(bian)化(hua)規律較為特殊的(de)(de)(de)有Zn、Cr 和Cd 這3 種重金(jin)屬(shu)元(yuan)素. 在溫(wen)度低于500 ℃前(qian),灰渣浸出(chu)液(ye)中(zhong)Zn 的(de)(de)(de)浸出(chu)濃(nong)度稍(shao)高于國(guo)(guo)家(jia)標準值(zhi),但(dan)(dan)在700 ℃以上工況下浸出(chu)液(ye)中(zhong)Zn 的(de)(de)(de)浸出(chu)濃(nong)度都遠(yuan)遠(yuan)低于國(guo)(guo)家(jia)標準值(zhi). 而(er)Cr 的(de)(de)(de)浸出(chu)濃(nong)度雖然隨(sui)著溫(wen)度的(de)(de)(de)升高而(er)降低明顯,但(dan)(dan)其最低值(zhi)也高達27191 mg·L - 1 , 高出(chu)國(guo)(guo)家(jia)標準值(zhi)近3 倍,這說(shuo)明利(li)用焚(fen)燒(shao)來控制(zhi)Cr 的(de)(de)(de)浸出(chu)效果(guo)不(bu)明顯. Cd 的(de)(de)(de)變(bian)化(hua)趨勢(shi)有些例(li)外(wai),在500 ℃~700 ℃時,Cd 的(de)(de)(de)浸出(chu)濃(nong)度稍(shao)有增(zeng)高,但(dan)(dan)700 ℃后又(you)大幅度減小. 造成這種現象的(de)(de)(de)原因是由(you)于Cd 在加(jia)熱(re)過程中(zhong)生成不(bu)同化(hua)學反應(ying)產物(wu)所致.
Cr 在(zai)焚燒時間為(wei)60 min 下(xia)的(de)(de)浸(jin)出(chu)濃度(du)要稍低于其(qi)(qi)在(zai)焚燒時間為(wei)30 min 下(xia)的(de)(de)浸(jin)出(chu)濃度(du),隨著(zhu)焚燒時間的(de)(de)進(jin)一(yi)步(bu)延(yan)長(chang),Cr 的(de)(de)浸(jin)出(chu)濃度(du)減少程度(du)顯著(zhu)減緩. 其(qi)(qi)余5 種重金屬的(de)(de)浸(jin)出(chu)濃度(du)大小隨焚燒時間的(de)(de)變化改(gai)變不大.
在(zai)(zai)測定(ding)的(de)6 種(zhong)重金屬中,只(zhi)有Cr 的(de)浸出濃度是(shi)超出國(guo)家標準(zhun)的(de). 在(zai)(zai)原(yuan)始(shi)電鍍(du)(du)污(wu)泥中,Cr 主(zhu)要以Cr3 + 的(de)形(xing)式存(cun)在(zai)(zai),如Cr2O3 ,而在(zai)(zai)氧化(hua)環境中Cr3 + 易(yi)與電鍍(du)(du)污(wu)泥中的(de)CaCl2 或(huo)CaO 結合形(xing)成Cr6 + , 如CaCrO4 ,而Cr6 + 具(ju)有極強的(de)水溶性(xing)和(he)酸溶性(xing). Cr6 + 是(shi)一(yi)種(zhong)強致癌物(wu),對人類危害極大,所以對Cr6 + 需要特別注意,在(zai)(zai)處置含Cr 固體(ti)廢物(wu)的(de)過程中可以將Cr6 + 還原(yuan)為Cr3 + ,然(ran)后用(yong)化(hua)學方(fang)法(fa)(fa)轉化(hua)為沉淀除(chu)去,或(huo)者通過離子交換法(fa)(fa),如樹脂吸附的(de)方(fang)法(fa)(fa)除(chu)去.
4.3 電鍍污泥(ni)中的重金屬析出特性規律(lv)
由表(biao)5 可知,在6 種重(zhong)(zhong)金屬(shu)(shu)元(yuan)(yuan)素(su)(su)中(zhong)(zhong),Ni 在各種試驗工況下都沒有析(xi)出(chu)(chu),是(shi)唯一沒有檢出(chu)(chu)的(de)(de)(de)(de)(de)重(zhong)(zhong)金屬(shu)(shu),Cr的(de)(de)(de)(de)(de)析(xi)出(chu)(chu)率雖然(ran)隨(sui)著(zhu)焚燒時(shi)間的(de)(de)(de)(de)(de)增(zeng)加而略有提高,但總的(de)(de)(de)(de)(de)來說(shuo)(shuo)Cr 的(de)(de)(de)(de)(de)析(xi)出(chu)(chu)量還是(shi)相當低的(de)(de)(de)(de)(de),這說(shuo)(shuo)明這2 種重(zhong)(zhong)金屬(shu)(shu)是(shi)典型的(de)(de)(de)(de)(de)不揮(hui)發性(xing)重(zhong)(zhong)金屬(shu)(shu). 由于Cr6 + 的(de)(de)(de)(de)(de)劇毒性(xing),這一現象(xiang)尤其要(yao)引起人們對電鍍污泥焚燒灰(hui)渣(zha)的(de)(de)(de)(de)(de)重(zhong)(zhong)視. Zn、Cu 和Pb 的(de)(de)(de)(de)(de)析(xi)出(chu)(chu)率變化規律(lv)比較接近,析(xi)出(chu)(chu)率隨(sui)著(zhu)溫(wen)度(du)(du)的(de)(de)(de)(de)(de)增(zeng)高而增(zeng)大(da). Zn 在500 ℃時(shi)析(xi)出(chu)(chu)率計算值為0 ,在溫(wen)度(du)(du)超過700 ℃之后(hou)析(xi)出(chu)(chu)率有所增(zeng)加,說(shuo)(shuo)明Zn 的(de)(de)(de)(de)(de)開始析(xi)出(chu)(chu)溫(wen)度(du)(du)范圍(wei)為500~700 ℃之間,這種規律(lv)也與Zn 元(yuan)(yuan)素(su)(su)在電鍍污泥的(de)(de)(de)(de)(de)不同(tong)結合(he)狀態有關. Cd 是(shi)6 種元(yuan)(yuan)素(su)(su)中(zhong)(zhong)析(xi)出(chu)(chu)率最(zui)特殊的(de)(de)(de)(de)(de)一種,Cd元(yuan)(yuan)素(su)(su)在500 ℃焚燒時(shi)的(de)(de)(de)(de)(de)析(xi)出(chu)(chu)率最(zui)高為16125 % ,而隨(sui)著(zhu)溫(wen)度(du)(du)升高,析(xi)出(chu)(chu)率呈減(jian)小趨勢,在900 ℃時(shi)已經為零,這是(shi)因為Cd 屬(shu)(shu)于半揮(hui)發性(xing)元(yuan)(yuan)素(su)(su),當反應溫(wen)度(du)(du)升高后(hou),Cd 與電鍍污泥內的(de)(de)(de)(de)(de)某(mou)些元(yuan)(yuan)素(su)(su)發生反應,例如S 和Cl 等,生成(cheng)新的(de)(de)(de)(de)(de)化合(he)物,反而不易揮(hui)發,更容(rong)易富集在渣(zha)中(zhong)(zhong).
焚(fen)燒時(shi)(shi)間(jian)對Cu 析(xi)(xi)(xi)(xi)(xi)出(chu)(chu)率(lv)(lv)(lv)的(de)(de)(de)(de)影(ying)響(xiang)是6 種(zhong)(zhong)金屬中最大(da)(da)的(de)(de)(de)(de),焚(fen)燒時(shi)(shi)間(jian)較長的(de)(de)(de)(de)工(gong)(gong)況下,Cu 的(de)(de)(de)(de)析(xi)(xi)(xi)(xi)(xi)出(chu)(chu)率(lv)(lv)(lv)明(ming)(ming)顯高(gao)(gao)(gao)于焚(fen)燒時(shi)(shi)間(jian)較短的(de)(de)(de)(de)工(gong)(gong)況,這種(zhong)(zhong)現象既與(yu)Cu 本身的(de)(de)(de)(de)物理性質有關(guan),也(ye)與(yu)其(qi)(qi)(qi)在在電鍍污泥(ni)內發生反應的(de)(de)(de)(de)機理有關(guan).氣(qi)(qi)(qi)氛(fen)(fen)(fen)對部(bu)分(fen)重金屬的(de)(de)(de)(de)析(xi)(xi)(xi)(xi)(xi)出(chu)(chu)特性影(ying)響(xiang)比較大(da)(da),這種(zhong)(zhong)影(ying)響(xiang)在Cd 上表(biao)現最為(wei)明(ming)(ming)顯,空(kong)氣(qi)(qi)(qi)氣(qi)(qi)(qi)氛(fen)(fen)(fen)下,其(qi)(qi)(qi)析(xi)(xi)(xi)(xi)(xi)出(chu)(chu)率(lv)(lv)(lv)為(wei)0 ,而N2 氣(qi)(qi)(qi)氛(fen)(fen)(fen)下其(qi)(qi)(qi)析(xi)(xi)(xi)(xi)(xi)出(chu)(chu)率(lv)(lv)(lv)高(gao)(gao)(gao)達11.98 % ,這說明(ming)(ming)2 種(zhong)(zhong)氣(qi)(qi)(qi)氛(fen)(fen)(fen)下Cd 在電鍍污泥(ni)內形成的(de)(de)(de)(de)化合物類型差別相當大(da)(da). 同樣,Pb 在N2 下的(de)(de)(de)(de)析(xi)(xi)(xi)(xi)(xi)出(chu)(chu)率(lv)(lv)(lv)也(ye)比其(qi)(qi)(qi)在空(kong)氣(qi)(qi)(qi)下的(de)(de)(de)(de)析(xi)(xi)(xi)(xi)(xi)出(chu)(chu)率(lv)(lv)(lv)要高(gao)(gao)(gao)出(chu)(chu)10 %以上.Ni 在兩(liang)種(zhong)(zhong)氣(qi)(qi)(qi)氛(fen)(fen)(fen)下的(de)(de)(de)(de)析(xi)(xi)(xi)(xi)(xi)出(chu)(chu)率(lv)(lv)(lv)都(dou)為(wei)0. Cr、Cu、Zn 在兩(liang)種(zhong)(zhong)氣(qi)(qi)(qi)氛(fen)(fen)(fen)下的(de)(de)(de)(de)析(xi)(xi)(xi)(xi)(xi)出(chu)(chu)率(lv)(lv)(lv)比較接近,但空(kong)氣(qi)(qi)(qi)氣(qi)(qi)(qi)氛(fen)(fen)(fen)下的(de)(de)(de)(de)析(xi)(xi)(xi)(xi)(xi)出(chu)(chu)率(lv)(lv)(lv)要稍高(gao)(gao)(gao)一點(dian).
5 結論( Conclusions)
1) 管式爐(lu)模擬(ni)焚燒爐(lu)實驗與熱重(zhong)實驗結果(guo)表明,700 ℃之前可以有效的(de)去除水分(fen)、揮發份以及有機(ji)質. 焚燒溫(wen)度低于(yu)(yu)400 ℃時,空氣(qi)和(he)N2 氣(qi)氛(fen)下電鍍污(wu)泥的(de)失重(zhong)曲線較接(jie)近. 在溫(wen)度高(gao)于(yu)(yu)400 ℃以上的(de)高(gao)溫(wen)階(jie)段下,還(huan)原性氣(qi)氛(fen)更有助(zhu)于(yu)(yu)電鍍污(wu)泥中(zhong)分(fen)解(jie)反(fan)應的(de)發生,但2 種氣(qi)氛(fen)下電鍍污(wu)泥的(de)總失重(zhong)率差別不大.
2) 高溫焚燒法處(chu)理電鍍污泥可以(yi)使(shi)得灰渣(zha)中重金(jin)屬的(de)(de)浸(jin)出(chu)濃度有不同程度的(de)(de)降(jiang)低,可以(yi)有效地控制(zhi)焚燒產物的(de)(de)重金(jin)屬浸(jin)出(chu). 但對(dui)于Cr , 雖然隨著溫度的(de)(de)升高Cr 的(de)(de)浸(jin)出(chu)濃度降(jiang)低明顯(xian),但其最(zui)低值(zhi)也要高出(chu)國家(jia)標準值(zhi).
3)Ni 是不(bu)(bu)揮發性(xing)重金屬(shu),在灰(hui)渣(zha)中(zhong)的(de)(de)(de)殘留(liu)率為100 % ,Cr 殘留(liu)在灰(hui)渣(zha)中(zhong)的(de)(de)(de)比例也高達97 %以上(shang),這(zhe)2 種重金屬(shu)元素(su)受焚(fen)燒(shao)條(tiao)件影(ying)響(xiang)(xiang)非(fei)常小;焚(fen)燒(shao)溫度(du)對于其它(ta)幾種重金屬(shu)元素(su)遷(qian)移特性(xing)影(ying)響(xiang)(xiang)非(fei)常大(da)(da),隨著溫度(du)的(de)(de)(de)增加(jia),Zn、Cu、Pb 的(de)(de)(de)析(xi)出率有不(bu)(bu)同(tong)程度(du)的(de)(de)(de)增大(da)(da),而Cd 則相(xiang)反(fan);Cu 的(de)(de)(de)析(xi)出率隨著焚(fen)燒(shao)時(shi)間的(de)(de)(de)增加(jia)而增加(jia). 在N2 氣(qi)氛(fen)下Pb、Cd 的(de)(de)(de)析(xi)出率均高于空(kong)氣(qi)氣(qi)氛(fen),氣(qi)氛(fen)對其它(ta)的(de)(de)(de)幾種重金屬(shu)析(xi)出率的(de)(de)(de)影(ying)響(xiang)(xiang)都不(bu)(bu)大(da)(da).
參考文獻(略)

使用微信“掃一掃”功能添加“谷騰環保網”